经营范围:生产各种楔横轧件。(依法须经批准的项目,经相关部门批准后方可开展经营活动)。
公司简介: 烟台市广兴楔横轧厂成立于1996年07月29日,注册地位于莱山区滨海办事处杨家台村,法定代表人为杨传永。经营范围包括生产各种楔横轧件。(依法须经批准的项目,经相关部门批准后方可开展经营活动)。
索密克30*24金龙客车横拉杆接头 价格、图片与配件厂家全解析
更新时间:2026-04-12 22:03:01
济南重汽科曼桥转向横拉杆球头总成WG9925410105 066及其关联楔横轧件解析
更新时间:2026-04-12 00:23:17
物质的科学分类 从多样到有序
更新时间:2026-04-12 22:28:20
手机信号放大器八木天线安装指南 朝向与位置详解
更新时间:2026-04-12 00:42:41
创意文字图像制作指南 如何定制专属‘我爱你’表白图
更新时间:2026-04-12 10:42:18
10#钢管、小口径钢管与精密机械管 现货销售与楔横轧件的专业解析
更新时间:2026-04-12 22:02:10
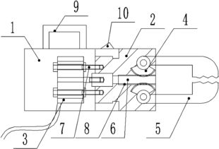
气动式锻造件机械夹手在楔横轧件生产中的应用与优势
更新时间:2026-04-12 12:21:47
专业回收各类钢结构厂房、库房、设备及楔横轧件服务
更新时间:2026-04-12 02:45:29
南宫市隆发毛毡制品厂 专业供应各类楔横轧件,提供详细报价与产品图片
更新时间:2026-04-12 11:32:33
11种EA111发动机机油滤清器横向评测与楔横轧件应用探讨
更新时间:2026-04-12 18:10:43
定制高端过滤材料与楔横轧件 打造高效工业解决方案
更新时间:2026-04-12 04:35:58
搅拌车机械轴承30208与减速机配件全解析 价格、图片与厂家选购指南
更新时间:2026-04-12 23:21:36
原厂厦门金龙客车横拉杆接头总成(左/右)配件详解 型号3303K-059/060的价格、图片及厂家信息
更新时间:2026-04-12 17:56:48
灵寿县广信矿产加工厂石英产品与楔横轧件产品目录
更新时间:2026-04-12 18:08:16
任县博业工矿机械厂 专业提供工业用橡胶制品与精密楔横轧件
更新时间:2026-04-12 07:47:10
城区多功能挖坑机制造厂家与各类楔横轧件应用解析
更新时间:2026-04-12 02:58:36
全面解析 黑钢轧花网价格、型号规格及楔横轧件应用
更新时间:2026-04-12 15:18:07
江苏滤水管生产厂家 专业打造各类楔横轧件,助力基础设施建设
更新时间:2026-04-12 05:57:12
楔横轧技术 原理、应用及轧件种类全解析
更新时间:2026-04-12 23:14:40
GB/T 33878-2017《钢质楔横轧件 工艺编制原则》解析 各类楔横轧件的工艺核心
更新时间:2026-04-12 03:39:47
公司名称:烟台市广兴楔横轧厂
法人代表:杨传永
注册地址:莱山区滨海办事处杨家台村
所属行业:金属制品业
更多行业:锻件及粉末冶金制品制造,铸造及其他金属制品制造,金属制品业,制造业
电话:1390585**
邮箱:gxxhz5**[email protected]
地址:莱山区滨海办事处杨家台村